Die Apple Vision Pro wird von Apple als Mixed-Reality-Headset positioniert, das vollständig ohne klassische Controller auskommt. Gesten, Blicksteuerung und Sprache sollen die zentrale Rolle übernehmen. Neue Patentunterlagen zeigen jedoch, dass intern an einem zusätzlichen Eingabegerät gearbeitet wird. Dabei geht es um einen Handcontroller, der optisch und funktional an den Apple Pencil erinnert, aber deutlich mehr sein soll als ein einfacher Stift.
Apple Patente sind bewusst breit formuliert und nicht gleichzusetzen mit konkreten Produktankündigungen. Trotzdem geben sie einen guten Einblick in strategische Überlegungen. Im Fall der Apple Vision Pro wird klar, dass Apple das Thema physische Eingabegeräte noch nicht abgeschlossen hat. Gerade bei präzisen Bewegungen, kreativen Anwendungen und komplexen Interaktionen stößt reine Gestensteuerung an Grenzen. Genau hier setzt der neue Patentvorschlag an.
Ein Handcontroller statt klassischem Stift
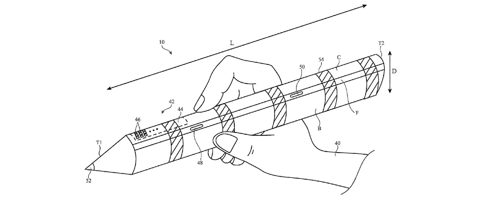
Obwohl Apple betont, dass die Apple Vision Pro keinen Handcontroller benötigt, beschreibt das neue Patent ein Gerät, das äußerlich an einen übergroßen Apple Pencil erinnert. Dabei handelt es sich weniger um ein Schreibgerät als um einen vollwertigen Handcontroller. Das Gehäuse ist länglich und markerförmig ausgelegt und so konzipiert, dass es sicher mit den Fingern gegriffen werden kann.

Im Patent wird das Gerät als Handcontroller mit einem länglichen, markerähnlichen Gehäuse beschrieben. Es soll sich über die Breite der Hand erstrecken und kann wie ein Stift, Bleistift, Marker, Zauberstab oder Werkzeug gehalten werden. Die Form wirkt klobiger als ein klassischer Apple Pencil, was den Fokus auf Kontrolle und Stabilität unterstreicht.
Einsatz über die Apple Vision Pro hinaus
Apple denkt bei diesem Controller nicht ausschließlich an das Headset. Laut Patent soll das Gerät mit einer Vielzahl von elektronischen Produkten funktionieren können. Dazu zählen unter anderem ein am Kopf getragenes Gerät wie die Apple Vision Pro, aber auch Smartphones, Tablets, Laptops, Smartwatches, Lautsprecher und weitere elektronische Systeme.
Der Controller wird damit als universelles Eingabegerät gedacht, das nicht an eine einzelne Produktkategorie gebunden ist. Diese Offenheit passt zur langfristigen Strategie, Eingabemethoden über verschiedene Geräte hinweg konsistent zu gestalten.
Virtuelle Spitzen und sichtbare Werkzeuge
Besonders interessant wird der Controller in Verbindung mit der Apple Vision Pro. In diesem Szenario kann das Headset virtuelle Inhalte über reale Umgebungen legen. Der Handcontroller selbst besitzt einen physischen Spitzenbereich, auf den eine computergenerierte Spitze projiziert wird. Diese virtuelle Pinselspitze oder dieser virtuelle Werkzeugkopf ist nur im Display sichtbar.
Apple beschreibt explizit einen computergenerierten Pinselkopf, der auf den Controller gelegt wird. Zusätzlich ist von einem allgemeineren computergenerierten Werkzeugkopf die Rede. Dadurch ergeben sich viele Anwendungsmöglichkeiten, etwa Zeichnen in der Luft, präzises Platzieren von Objekten oder das Bedienen komplexer Benutzeroberflächen im Raum.
Technik im Inneren des Controllers
Im Inneren des Geräts soll umfangreiche Sensorik verbaut sein. Genannt wird unter anderem eine Trägheitsmesseinheit mit Beschleunigungsmesser. Diese kann Bewegungen wie Wischbewegungen, Wellenbewegungen, Schreib- und Zeichenbewegungen, Schütteln und Drehungen erfassen.
Zusätzlich sind drahtlose Kommunikationsfunktionen vorgesehen. Auch Tracking-Technologien spielen eine Rolle. Apple nennt aktive oder passive visuelle Markierungen, die von optischen Sensoren eines externen Geräts erkannt werden können. Damit ließe sich die Position und Bewegung des Controllers im Raum sehr genau verfolgen.
Patentumfang und beteiligte Entwickler
Wie bei Patenten üblich ist der Vorschlag möglichst weit gefasst. Beschrieben wird allgemein ein Handheld-Controller mit einem Gehäuse, das einen länglichen Schaft besitzt, der sich zwischen einem ersten und einem zweiten Spitzenabschnitt erstreckt. Die gezeigten Beispielabbildungen zeigen jedoch meist eine Art massiven Apple Pencil mit einer auffällig großen physischen Spitze.
Das Patent wird fünf Erfindern zugeschrieben. Einer davon ist Yuhao Pan, der zuvor an einem Konzept gearbeitet hat, bei dem Ultraschallsensoren zur Authentifizierung von Benutzerstimmen eingesetzt werden sollten. Das zeigt, dass Apple intern an sehr unterschiedlichen, aber miteinander verknüpften Eingabetechnologien arbeitet.
Apple denkt bei der Vision Pro über Gesten hinaus
Die Apple Vision Pro wird offiziell als Gerät ohne Controller vermarktet. Das nun erteilte Patent zeigt jedoch, dass Apple weiterhin intensiv an physischen Eingabelösungen arbeitet. Ein Apple-Pencil-ähnlicher Handcontroller mit virtuellen Werkzeugspitzen könnte vor allem bei präzisen und kreativen Anwendungen eine sinnvolle Ergänzung sein.
Ob dieses Konzept jemals als Produkt erscheint, bleibt offen. Klar ist aber, dass Apple die Grenzen von Gestensteuerung allein realistisch einschätzt und sich alle Optionen offenhält. Für die Weiterentwicklung der Apple Vision Pro könnte genau dieser Controller langfristig eine wichtige Rolle spielen. Die besten Produkte für dich: Unsere Amazon Storefront bietet eine breite Auswahl an Zubehörteilen, auch für HomeKit. (Bild: Shutterstock / Hadrian)
- Apple meldete 2025 deutlich weniger Patente in den USA
- AirPods der Zukunft: Apple forscht an smarter Gestenlogik
- Apple plant Stoffdisplays für HomePod und andere Geräte
- Apple siegt im langjährigen Konflikt um iPhone Kamerapatente
- Apple entwickelt magnetischen Game-Controller für iPhone & iPad
- Apple setzt bei Schlaftracking auf smarte Matratzen-Sensoren
- Apple entwickelt Taptic Engine der nächsten Generation
- Apple Ring – neue Patente lassen auf innovatives Wearable hoffen
- Apple Vision Pro könnte mehr Touch-Bedienung erhalten
- Apple meldet Patent für iPhone aus einem Stück Glas an
- Apple arbeitet an Lichtsignalen für Apple Ring und mehr
- Apple meldet Patent für neue Maus-Taste im Keyboard an
- Apple Pencil bald als Eingabestift für alle Apple-Geräte?
- Apple Patent belegt: AirPods mit Kameras in Entwicklung
- Apple könnte Vision Pro für Reisen per Software verbessern
- AirPods lernen Lippenlesen: Apple plant lautlose Steuerung
- Apple Patent zeigt: iPhone könnte bald alles automatisch steuern
- Neue Forschung: Apple entwickelt Scharniere für faltbares iPhone
- Magic Mouse: Apple arbeitet an berührungsloser Steuerung
- Apple Patent: Mehr Aktionstasten für iPhones und mehr
- iPhone: Face ID unter dem Display rückt in greifbare Nähe




